O型切断气动球阀
- 销售:
- 销售:
- 传真:
详情介绍
- 产品介绍
- 服务承诺
- 订货流程
气动O型切断球阀主要用于截断或接通管路中的介质,亦可用用于流体的调节与控制,它与其它阀类相比,具有以下一些优点。
特点
1、流体阻力小、球阀是所有阀类中流体阻力Z小的一种,即使是缩径球阀,其流体阻力也相当小。
2、止推轴承减小阀杆磨擦力矩,可使阀杆长期操作平稳灵活。
3、阀座密封性能好,采用聚四氟乙烯等弹性材料制成的密封圈,结构易于密封,而且球阀的阀封能力随着介质压力的增高而增大。
4、阀杆密封可靠,由于阀杆只作彷转动运而不做升降运动,阀杆的填料密封不易破坏,且密封能力随着介质的压力增高而增大。
5、由于聚四氟乙烯等材料具有良好的自润滑性,与球体的磨擦损失小,故球阀的使用寿命长。
6、下装式阀杆和阀杆头部凸阶防止阀杆喷出,如火灾造成阀杆密封破坏,凸阶与阀体间还可形成金属接触,确保阀杆密封。
7、 防静电功能:在球体、阀杆、阀体之间设置弹簧,能将开关过程产生的静电导出。
气动O型切断球阀 执行机构
采用新型系列GT型气动执行器,有双作用式和单作用式(弹簧复位),齿轮齿条传动,安全可靠;大口径阀门采用系列AW型气动执行器拔叉式传动,结构合理,输出扭矩大,有双作用式和单作用式。
1、齿轮式双活塞,输出力矩大,体积小。
2、气缸选用铝金材料,重量轻、外形美观。
3、可在顶部、底部安装手动操作机构。
4、齿条式连接可调节开启角度、额定流量。
5、执行器可选带电讯号反馈指示及各类附件以实现自动化操作。
6、IS05211标准连接为产品的安装更换提供了方便。
7、两端调的节螺钉可使标准产品在0°和90°有±4°的可调范围。确保与阀门的同步精度。
附件的选项根据不同控制和要求可选择下列附件:
切断型附件:单电控电磁阀、双电控电磁阀、限位开关回讯器。
调节型附件:电气定位器、气动定位器、电气转换器。
气源处理附件:空气过滤减压阀、气源处理三联件。
手动机构:HVSD手操机构
气动O型切断球阀 执行标准
1、设计与制造:GB12237-89、API608、API 6D、JPI 7S-48、BS5351、DIN3357。
2、法兰尺寸:JB/T74~90(JB74~90)、GB9112~9131、HGJ44~76、SH3406、ANSI B16.5、JIS B2212~2214、NF E29-211、DIN2543。
3、结构长度:GB12221-89、ANSI B16.10、JIS B2002、NF E29-305、DIN3202。
4、检验主试验:JB/T 9092、API 598。
气动O型切断球阀 性能规范
公称通径mm | DN15-DN300 | |||
材料代号 | C | P | R | |
主要零件 | 阀 体 | WCB | ZG1Cr18Ni9Ti | ZG1Cr18Ni |
球 体 | 2Cr13 | 1Cr18Ni9Ti | 1Cr18Ni12MoTi | |
阀 杆 | 2Cr13 | 1Cr18Ni9Ti | 1Cr18Ni12MoTi | |
密封圈 | 增强聚四氟乙烯 对位聚苯 | |||
填 料 | 聚四氟乙烯 柔性石墨 | |||
适用工况 | 适用 | 蒸汽、水 | 硝酸类 | 醋酸类 |
适用 | -28℃ - 300℃ | |||
执行器 | 型 号 | AW、DA/SR系列、GTE系列、TH系列等 | ||
气源压力 | 0.4-0.7MPa | |||
气动O型切断球阀 压力试验
试验压力 | 公称压力(Mpa) | 压力级(class) | JIS(Mpa) | |||||||
1.6 | 2.5 | 4.0 | 6.4 | 10.0 | 150 | 300 | 600 | 10K | 20K | |
强度试验 | 2.4 | 3.8 | 6.0 | 9.6 | 15.0 | 3.1 | 7.8 | 15.3 | 2.4 | 3.8 |
密封试验 | 1.8 | 2.8 | 4.4 | 7.0 | 11.0 | 2.2 | 5.6 | 11.2 | 1.5 | 2.8 |
气密试验 | 0.5~0.7 | |||||||||

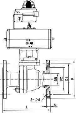
气动O型切断球阀 安装尺寸
公称 | 尺 寸(mm) | 执 行 器 型 号 | ||||||||||||||
1.6MPa | 2.5MPa | 4.0MPa | ||||||||||||||
L | D | D1 | b | Z-фD | L | D | D1 | b | Z-фD | L | D | D1 | b | Z-фD | 可选配DA/SR、QGSY、 | |
15 | 130 | 95 | 65 | 14 | 4-14 | 130 | 95 | 65 | 16 | 4-14 | 130 | 130 | 65 | 16 | 4-14 | |
20 | 130 | 105 | 75 | 14 | 4-14 | 130 | 105 | 75 | 16 | 4-14 | 150 | 150 | 75 | 16 | 4-14 | |
25 | 140 | 115 | 85 | 14 | 4-14 | 140 | 115 | 85 | 16 | 4-14 | 160 | 160 | 85 | 16 | 4-14 | |
32 | 165 | 135 | 100 | 16 | 4-18 | 165 | 135 | 100 | 18 | 4-18 | 180 | 180 | 100 | 18 | 4-18 | |
40 | 165 | 145 | 110 | 16 | 4-18 | 165 | 145 | 110 | 18 | 4-18 | 200 | 200 | 110 | 18 | 4-18 | |
50 | 203 | 160 | 125 | 16 | 4-18 | 203 | 160 | 125 | 20 | 4-18 | 230 | 230 | 125 | 20 | 4-18 | |
65 | 222 | 180 | 145 | 18 | 4-18 | 222 | 180 | 145 | 22 | 8-18 | 290 | 290 | 145 | 22 | 8-18 | |
80 | 241 | 195 | 160 | 20 | 8-18 | 241 | 195 | 160 | 22 | 8-18 | 310 | 310 | 160 | 22 | 8-18 | |
100 | 305 | 215 | 180 | 20 | 8-18 | 305 | 230 | 190 | 24 | 8-23 | 350 | 350 | 190 | 24 | 8-23 | |
125 | 356 | 245 | 210 | 22 | 8-18 | 356 | 270 | 220 | 28 | 8-25 | 400 | 270 | 220 | 28 | 8-25 | |
150 | 394 | 280 | 240 | 24 | 8-23 | 394 | 300 | 250 | 30 | 8-25 | 480 | 300 | 250 | 30 | 8-25 | |
200 | 457 | 335 | 295 | 28 | 12-23 | 457 | 360 | 310 | 34 | 12-25 | 600 | 375 | 320 | 38 | 12-30 | |
良好的品质、优良的服务 8868体育·(中国)官方网站为你创造更多价值!
“8868体育·(中国)官方网站”的期望,不断提升服务质量,精益求精,“真诚的服务”是“8868体育·(中国)官方网站”永恒的主题。“8868体育·(中国)官方网站”严格按照IS09001-2000 质量体系认证要求,质量严格把关, 责任到人,确保生产、销售、服务的健康运行。加强与用户沟通,竭诚为广大客户提供优良产品,至善至美服务。特此我厂做出以下承诺:
产品标准:
产品严格按照中国GB、HG 标准和美国API等标准设计、制造、验收。密封面硬度达到国家规定要求,宽度超过国家标准。
售前服务:
产品介绍,技术交流,非标产品设计,疑难解答。
售中服务:
守信合同,保证及时供货,随时保持与客户联系。 对特殊或复制的产品,我厂安排技术人员对用户进行产品使用、故障排除
售后服务:
1、“8868体育·(中国)官方网站”牌产品品质期为自出厂起12个月,实行“三包”服务(包退、包换、保修)。
2、产品在使用中我厂定期组织技术、质检人员进行访问,征询用户对产品质量、 使用状况、改进意见等方面的反馈, 以便进一步提高产品质量。
3、对用户投诉质量问题,快速作出反应,售后服务人员在24-36小时(省外48小时)赶赴现场。
4、对售后服务,要求用户填写服务后的质量反馈信息表,并作出鉴定意见,以便提高8868体育·(中国)官方网站的服务质量。
1、客户如对产品有特殊要求,须在订货合同中提供以下说明:
a、结构长度;
b、连接形式;
c、公称直径、全通径、缩径、管道尺寸;
d、运行介质及温度、压力范围;
e、试验、检验标准及其他要求
2、本厂可根据客户特定要求配置各类驱动装置。
3、如由客户提供确定的阀门类型和型号时,客户应正确说明其型号的含义和要求,在供需双方理解一致的条件下签订合同。
4、期货、订货的客户请先来电函详细告诉所需的阀门型号、规格、数量以及交货时间、地点,并按总的30%预定金或全额货款及时汇入我厂帐户,其余货款待发货前汇入,以便及时安排发货。
订单流程:
1、客户采购清单传真至,或来电咨询
2、收到客户采购清单,为客户提供阀门型号选型与报价(价格清单)。
3、具体商定:交货期、特殊要求等事宜。
订货须知:
1、客户如对产品有特殊要求,须在订货合同中提供以下说明:
|
|||||
|
|||||
2、本厂可根据客户特定要求配置各类驱动装置。
|
|||||
3、如由客户提供确定的阀门类型和型号时,客户应正确说明其型号的含义和要求,在供需双方理解一致的条件下签订合同。
|
|||||
4、期货、订货的客户请先来电函详细告诉所需的阀门型号、规格、数量以及交货时间、地点,并按总的30%预定金或全额货款及时汇入我厂账户, 其余货款待发货前汇入,以便及时安排发货。
|
售中服务:
守信合同,保证及时供货,随时保持与客户联系。
对特殊或复制的产品,我厂安排技术人员对用户进行产品使用、故障排除
售后服务:
1、“8868体育·(中国)官方网站”产品品质期为自出厂起12个月,实行“三包”服务(包退、包换、保修)。
2、产品在使用中我厂定期组织技术、质检人员进行访问,征询用户对产品质量、使用状况、改进意见等方面的反馈,
以便进一步提高产品质量。
3、对用户投诉质量问题,快速作出反应,售后服务人员在24-36小时(省外48小时)赶赴现场。
4、对售后服务,要求用户填写服务后的质量反馈信息表,并作出鉴定意见,以便提高“8868体育·(中国)官方网站”的服务质量。
声明 |
|